Przełącznik automatyczny sieć-agregat 3F 63A PSR-463-AUTO
PSR-463-AUTO
Nowy produkt
Tego towaru nie ma w magazynie
Przełącznik automatyczny służy do przełączania automatycznego i manualnego pomiędzy dwoma 3-fazowymi liniami zasilającymi lub np. linią zasilającą, a generatorem. Obsługiwany prąd do 63A.
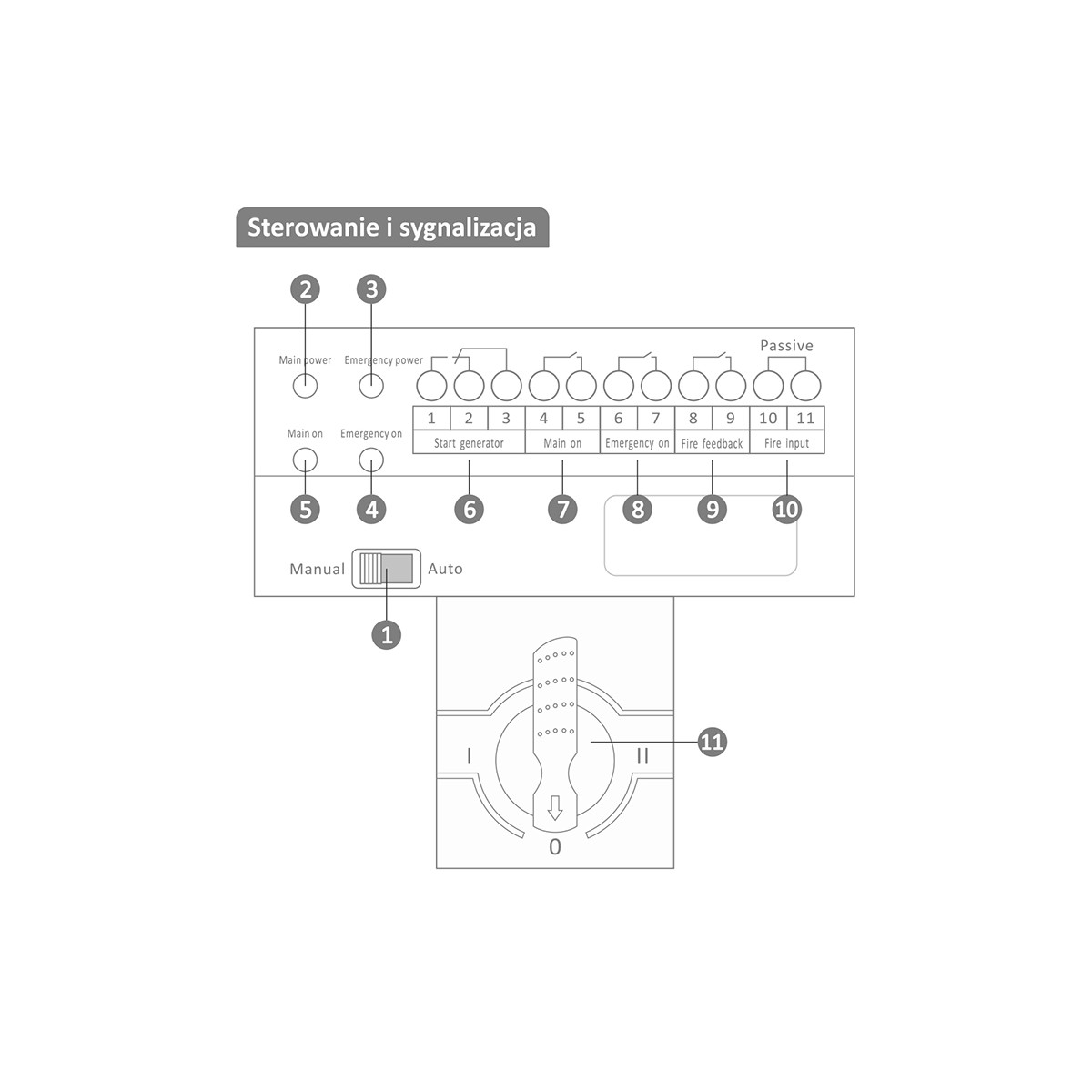
Działanie:
PSR-463-AUTO automatycznie przełącza zasilanie między siecią główną a pomocniczą np. pomiędzy dwiema liniami zasilającymi lub pomiędzy linią zasilającą, a agregatem prądotwórczym, zapewniając ciągłość pracy urządzeń. Przeznaczony jest do pracy w sieciach AC 50/60 Hz o napięciu 230/400 V. Może obsługiwać prąd do 63 A.
- Niezależny układ sterujący i mechanizm wykonawczy.
- Mechaniczne zabezpieczenie, które zapobiega jednoczesnemu włączeniu obu źródeł zasilania.
- Dzięki rozbudowanej funkcjonalności:
- Sterowania zewnętrznym generatorem;
- Wejście bezpieczeństwa pozwalające automatycznie wyłączyć zasilanie w przypadku zgłoszenia niebezpieczeństwa lub pożaru;
- Kontrola poprawności napięcia;
- Sygnalizacja stanu pracy;
- Możliwość pracy w trybie Auto lub Manual.
- Kontrolki wskazujące stan głównego zasilania, zasilania awaryjnego i status wyłączników.
- Porty wyjściowe do sygnałów alarmowych i sterowania zewnętrznego.
- Bezpieczne przełączanie między zasilaniem głównym a awaryjnym.
- Łatwa integracja z istniejącymi instalacjami.
- Możliwość pracy w układzie 1-fazowym i 3-fazowym.
- Załączenie/wyłączenie styków głównych (L1, L2, L3, N) następuje jednocześnie.
DANE TECHNICZNE:
- Czas przełączania ≤ 5 s
- Prąd znamionowy [AC-21B/AC-22A] 63 A
- Liczba biegunów 4P
- Wytrzymałość mechaniczna 10 000 cykli
- Napięcie izolacji 500 V
- Moment dokręcający 2 Nm
- Napięcie pracy 3x230/400 V
- Zdolność łączeniowa zwarciowa Icm 7,5 kA (0,1s)
- Znamionowa zwarciowa zdolność łączeniowa Icn 5 kA, cosφ-0.65
- Żywotność elektryczna 6 000 cykli
- Napięcie udarowe 4 kV
| Rodzaj | Przełącznik faz |
Oferujemy kilka form płatności za zamówienie
W przypadku wybrania przelewu tradycyjnego nasz numer konta bankowego wraz z kwotą do zapłaty pojawi się na ostatniej stronie procesu zamówienia oraz zostanie wysłany na Twój email. Przesyłka zostanie wysłana dopiero, gdy pieniądze wpłyną na nasze konto. DOMUS Adam Chromik i Wspólnicy Sp. Jawna | Opcje płatności na stronie
Odbiór osobisty w naszej hurtowniDOMUS Sp. Jawna ul. Zielona 9a, 43-502 Czechowice-Dziedzice
|
30 innych produktów w tej samej kategorii
AZH automat zmierzchowy z wewnętrznym...
Napięcie zasilania 230 V AC Tolerancja napięcia zasilania -10 ÷ 10 % Maksymalny prąd obciążenia AC-1 10 A Element wykonawczy przekaźnik Konfiguracja styków 1 × NO Separacja styku NIE Próg zadziałania - regulowany 2 ÷ 1000 Lx Próg zadziałania - ustawiony ok. 7 Lx Histereza ok. 15 Lx Opóźnienie zadziałania włączenia ok. 10 s Opóźnienie zadziałania...
AZH-106 automat zmierzchowy z wewnętrznym...
Napięcie zasilania 230 V AC Tolerancja napięcia zasilania -10 ÷ 10 % Maksymalny prąd obciążenia AC-1 16 A Element wykonawczy przekaźnik Konfiguracja styków 1 × NO Separacja styku NIE Próg zadziałania - regulowany 2 ÷ 1000 Lx Próg zadziałania - ustawiony ok. 7 Lx Histereza ok. 15 Lx Opóźnienie zadziałania włączenia ok. 10 s Opóźnienie zadziałania...
AZH-106-12V automat zmierzchowy z wewnętrznym...
Napięcie zasilania 12 V AC/DC Tolerancja napięcia zasilania -15 ÷ 10 % Maksymalny prąd obciążenia AC-1 16 A Element wykonawczy przekaźnik Konfiguracja styków 1 × NO Separacja styku NIE Próg zadziałania - regulowany 2 ÷ 1000 Lx Próg zadziałania - ustawiony ok. 7 Lx Histereza ok. 15 Lx Opóźnienie zadziałania włączenia ok. 10 s Opóźnienie zadziałania...
AZH-12V automat zmierzchowy z wewnętrznym...
Napięcie zasilania 12 V AC/DC Tolerancja napięcia zasilania -15 ÷ 10 % Maksymalny prąd obciążenia AC-1 10 A Element wykonawczy przekaźnik Konfiguracja styków 1 × NO Separacja styku NIE Próg zadziałania - regulowany 2 ÷ 1000 Lx Próg zadziałania - ustawiony ok. 7 Lx Histereza ok. 15 Lx Opóźnienie zadziałania włączenia ok. 10 s Opóźnienie zadziałania...
AZH-24V automat zmierzchowy z wewnętrznym...
Napięcie zasilania 24 V AC/DC Tolerancja napięcia zasilania -15 ÷ 10 % Maksymalny prąd obciążenia AC-1 10 A Element wykonawczy przekaźnik Konfiguracja styków 1 × NO Separacja styku NIE Próg zadziałania - regulowany 2 ÷ 1000 Lx Próg zadziałania - ustawiony ok. 7 Lx Histereza ok. 15 Lx Opóźnienie zadziałania włączenia ok. 10 s Opóźnienie zadziałania...
AZH-C automat zmierzchowy z wewnętrznym...
Napięcie zasilania 230 V AC Tolerancja napięcia zasilania -10 ÷ 10 % Maksymalny prąd obciążenia AC-1 10 A Element wykonawczy przekaźnik Konfiguracja styków 1 × NO Separacja styku NIE Próg zadziałania - regulowany 2 ÷ 1000 Lx Próg zadziałania - ustawiony ok. 7 Lx Histereza ok. 15 Lx Opóźnienie zadziałania włączenia ok. 10 s Opóźnienie zadziałania...
AZH-C-24V automat zmierzchowy z wewnętrznym...
Napięcie zasilania 24 V AC/DC Tolerancja napięcia zasilania -15 ÷ 10 % Maksymalny prąd obciążenia AC-1 10 A Element wykonawczy przekaźnik Konfiguracja styków 1 × NO Separacja styku NIE Próg zadziałania - regulowany 2 ÷ 1000 Lx Próg zadziałania - ustawiony ok. 7 Lx Histereza ok. 15 Lx Opóźnienie zadziałania włączenia ok. 10 s Opóźnienie zadziałania...
AZH-LED Automat zmierzchowy z wewnętrznym...
Napięcie zasilania 195÷253 V AC Tolerancja napięcia zasilania -10 ÷ 10 % Maksymalny prąd obciążenia AC-1 10 A Element wykonawczy przekaźnik Konfiguracja styków 1 × NO Separacja styku NIE Odporność na prądy udarowe 160 A/20 ms Próg zadziałania - regulowany 2 ÷ 1000 Lx Histereza ok. 15 Lx Opóźnienie zadziałania włączenia ok. 10 s Opóźnienie zadziałania...
AZH-MINI-LED Automat zmierzchowy z...
Napięcie zasilania 195÷253 V AC Tolerancja napięcia zasilania -10 ÷ 10 % Maksymalny prąd obciążenia AC-1 10 A Element wykonawczy przekaźnik Konfiguracja styków 1 × NO Separacja styku NIE Odporność na prądy udarowe 160 A/20 ms Próg zadziałania - regulowany 2 ÷ 1000 Lx Histereza ok. 15 Lx Opóźnienie zadziałania włączenia ok. 10 s Opóźnienie zadziałania...
AZH-S automat zmierzchowy z zewnętrzną sondą...
Napięcie zasilania 230 V AC Tolerancja napięcia zasilania -10 ÷ 10 % Maksymalny prąd obciążenia AC-1 16 A Element wykonawczy przekaźnik Konfiguracja styków 1 × NO Separacja styku NIE Próg zadziałania - regulowany 2 ÷ 1000 Lx Próg zadziałania - ustawiony ok. 7 Lx Histereza ok. 15 Lx Opóźnienie zadziałania włączenia ok. 10 s Opóźnienie zadziałania...
AZH-S-12V automat zmierzchowy z zewnętrzną...
Napięcie zasilania 12 V AC/DC Tolerancja napięcia zasilania -10 ÷ 10 % Maksymalny prąd obciążenia AC-1 16 A Element wykonawczy przekaźnik Konfiguracja styków 1 × NO Separacja styku NIE Próg zadziałania - regulowany 2 ÷ 1000 Lx Próg zadziałania - ustawiony ok. 7 Lx Histereza ok. 15 Lx Opóźnienie zadziałania włączenia ok. 10 s Opóźnienie zadziałania...
AZH-S-24V automat zmierzchowy z zewnętrzną...
Napięcie zasilania 24 V AC/DC Tolerancja napięcia zasilania -10 ÷ 10 % Maksymalny prąd obciążenia AC-1 16 A Element wykonawczy przekaźnik Konfiguracja styków 1 × NO Separacja styku NIE Próg zadziałania - regulowany 2 ÷ 1000 Lx Próg zadziałania - ustawiony ok. 7 Lx Histereza ok. 15 Lx Opóźnienie zadziałania włączenia ok. 10 s Opóźnienie zadziałania...
AZH-S-PLUS automat zmierzchowy z zewnętrzną...
Napięcie zasilania 230 V AC Tolerancja napięcia zasilania -10 ÷ 10 % Maksymalny prąd obciążenia AC-1 16 A Element wykonawczy przekaźnik Konfiguracja styków 1 × NO Separacja styku NIE Próg zadziałania - regulowany 2 ÷ 1000 Lx Próg zadziałania - ustawiony ok. 7 Lx Histereza ok. 15 Lx Opóźnienie zadziałania włączenia ok. 10 s Opóźnienie zadziałania...
